苹果新专利曝光,关注很久的苹果内容它终于来了,信息的内容都比较的好去了解,得到的最新专利都非常的不错,全新的体验都可以去了解,最详细的专利都已经放在下方了,跟着我来一起资讯吧。
一、苹果新专利曝光
7 月 6 日消息,美国专利和商标局(USPTO)公示了苹果的一项新专利,专利名为”在潮湿状态下调节电子设备的功能(Modifying functionality of an electronic device during a moisture exposure event)“。
该专利显示,用户将能够在 iPhone 屏幕潮湿的情况下完成打字等交互,有效减少误触。同时该专利还将改善暴露在水中的电子设备的使用体验。

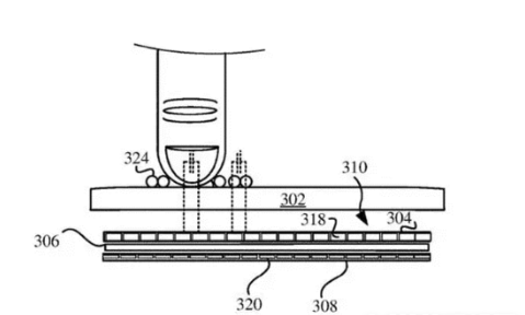
专利显示,该方法将在手机屏幕上添加一个“保护层”,该保护层与苹果的触摸检测系统相连。通过保护层,该系统能够检测施加在显示面板上的力,并且还可以检测屏幕上是否存在水分。
当屏幕上水分含量超过预设的阈值时,算法将在考虑到水分产生的额外压力的前提下,调整数字转化器,从而响应用户的操作。
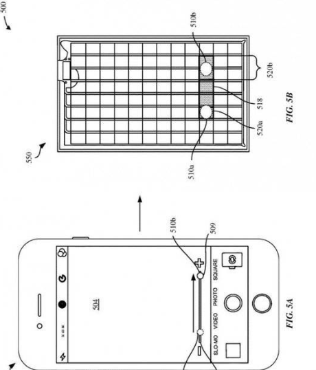
此外,当用户在水下使用 iPhone 时,iPhone 的 UI 会产生改变,例如在水下使用相机时该 App 图标会更大,更易按压。


该功能可能会默认开启,当检测到水分时自动激活。但专利也显示未来在 iPhone 中可能一个选项,允许用户手动开关该功能。
当然,作为一个专利,苹果是否会在未来的 iPhone 中推出这个功能还是未知数,但从专利来看这个功能还是非常具有实用价值的。
苹果新专利的分享已经结束,想要浏览更多资讯的小伙伴可以关注软件爱好者,轻松掌握热门动态!



































